Магазин запчастей для бытовой техники - Arlos
Москва
close
Выберите ваш регион
АбаканАлександровАльметьевскАнгарскАрзамасАрмавирАртемАрхангельскАстраханьАчинскБалаковоБалашихаБеларусьБелгородБердскБерезникиБийскБлаговещенскБратскБрянскВеликий НовгородВидноеВладивостокВладикавказВладимирВолгоградВолгодонскВолжскийВологдаВолховВоркутаВоронежВоскресенскВыборгГатчинаГеленджикГрозныйДедовскДербентДзержинскДзержинскийДимитровградДмитровДолгопрудныйДомодедовоДонецкЕвпаторияЕгорьевскЕкатеринбургЕлецЕссентукиЖелезногорскЖелезнодорожныйЖуковскийЗеленоградЗлатоустИвановоИвантеевкаИжевскИркутскИстраЙошкар-ОлаКазаньКалининградКалугаКаменск-УральскийКамышинКаспийскКемеровоКерчьКировКисловодскКлинКовровКоломнаКомсомольск-на-АмуреКопейскКоролёвКостромаКотельникиКрасногорскКраснодарКраснознаменскКрасноярскКурганКурскКызылЛенинск-КузнецкийЛипецкЛобняЛыткариноЛюберцыМагнитогорскМайкопМалаховкаМахачкалаМиассМоскваМурманскМуромМытищиНабережные ЧелныНазраньНальчикНаро-ФоминскНахабиноНаходкаНевинномысскНефтекамскНефтеюганскНижневартовскНижнекамскНижний НовгородНижний ТагилНовокузнецкНовокуйбышевскНовомосковскНовороссийскНовосибирскНовоуральскНовочебоксарскНовочеркасскНовошахтинскНовый УренгойНогинскНорильскНоябрьскОбнинскОдинцовоОктябрьскийОмскОрелОренбургОрехово-ЗуевоОрскПавловский ПосадПензаПервоуральскПермьПетрозаводскПетропавловск-КамчатскийПодольскПрокопьевскПсковПушкиноПятигорскРаменскоеРеутовРостов-на-ДонуРубцовскРыбинскРязаньСакиСалаватСамараСанкт-ПетербургСаранскСаратовСевастопольСеверодвинскСеверскСергиев ПосадСерпуховСимферопольСмоленскСосновый БорСочиСтавропольСтарый ОсколСтерлитамакСтупиноСургутСызраньСыктывкарТаганрогТамбовТверьТихвинТольяттиТомилиноТомскТроицкТулаТюменьУлан-УдэУльяновскУссурийскУсть-ИлимскУфаУхтаФеодосияФрязиноХабаровскХанты-МансийскХасавюртХимкиЧебоксарыЧелябинскЧереповецЧеркесскЧеховЧитаШахтыЩелковоЭлектростальЭлистаЭнгельсЮжно-СахалинскЯкутскЯлтаЯрославль
  • - бесплатно по РФ
    Автоперезвон. Работает по принципу: Вы позвонили на номер, мы сбрасываем звонок и перезваниваем через 3 секунды.
  • - по Москве
  • 8 (925) 663-83-63

Call-центр

пн-вс: 10:00-19:00

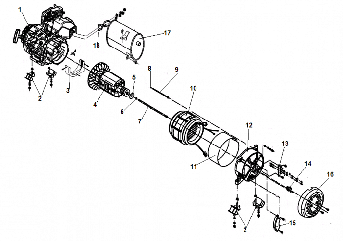
2 ЯКОРЬ - СТАТОР - БЛОК AVR ГЕНЕРАТОР CHAMPION GG7200E

NАртикулНазваниеСрок отгрузкиЦенаКупить
1 012050000027 Двигатель 5-7 рабочих дней
2 029910300301 Виброизолятор 5-7 рабочих дней 220 р.
3 029990000701 Кожух крыльчатки генератора 5-7 рабочих дней
4 062026520009 Ротор 5-7 рабочих дней 9.766 р.
5 513041000000 Шайба 10 5-7 рабочих дней 74 р.
6 513021000002 Шайба 10 5-7 рабочих дней
7 511011026501 Шпилька крепления ротора 10х265 5-7 рабочих дней
8 513020600002 Шайба 6 5-7 рабочих дней
9 511050617501 Болт М6х175 5-7 рабочих дней
10 62026530010 Статор 5-7 рабочих дней
11 029030102000 Защита статора 5-7 рабочих дней
12 029030430700 Крышка генератора сторона AVR 5-7 рабочих дней 2.237 р.
13 029030500101 Колодка соединительная 5-7 рабочих дней
14 029030700200 Щетки 5-7 рабочих дней 161 р.
15 3060003002001 Блок AVR 5-7 рабочих дней 2.432 р.
16 029030300314 Крышка альтернатора 5-7 рабочих дней
17 029040600001 Глушитель 5-7 рабочих дней 2.650 р.
18 029049910600 Прокладка глушителя 5-7 рабочих дней 31 р.
Найдено товаров: 18
1
▲ Наверх
0
8 (925) 663-83-63

Call-центр

пн-вс: 10:00-19:00

НАЙТИ ПО МОДЕЛИ
Введите номер заказа
Введите номер своего заказа, что бы узнать его текущий статус.
Что бы получить доступ к расширенным функциям, пройдите не сложную регистрацию. Зарегистрироваться